| Sign In | Join Free | My esadidasol.com |
|
Brand Name : POWERFLOW
Model Number : 900 Seires
Certification : ISO9001.
Place of Origin : CHINA
MOQ : 1 Nos
Price : Quotation Offered by Email.
Payment Terms : T/T
Supply Ability : 50Nos/Week for every single Customer.
Delivery Time : 10-15 Days
Power Supply : DC12V-48V
Ambient Temp. : -20 - 50℃
Installation : M26*1.5; M22*1.5
Cable Interface : M16*1.5
Stroke control range : 10-30mm
Explosion Proof : Exia IIC T5 Ga
1. Dimension

2. Connection type

3. Installation
![]() | Loosen the screw F with a hexagonal wrench and remove the drive rod D |
![]() | Check that the seal on the transmission rod is installed and in good condition and replace if necessary |
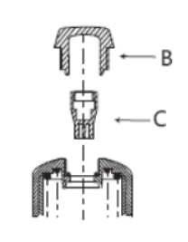
![]() | Unscrew the clear cap B on the drive and indicate the C on the drive lever |
![]() | Place drive bar D into the drive and screw threaded lock A onto drive lever E |
![]() | Use a wrench to tighten the drive rod to the top of the drive |
![]() | Tighten the drive rod and driver rod with a driver |
![]() | Install the return sensor housing to the drive rod D, rotate the sensor housing, set the direction of the cable glands, and ensure that the electric shock signal is normal. Use the Allen wrench to tighten the fixing screw F |
4. 1/4, M16*1.5 conversion sleeve installation

|
|
Explosion Proof Valve Position Indicator Limit Switch Box Images |